Dateiliste
Aus WikiPedalia
Diese Spezialseite listet alle hochgeladenen Dateien auf.
| Datum | Name | Vorschaubild | Größe | Benutzer | Beschreibung | Versionen |
|---|---|---|---|---|---|---|
| 06:17, 28. Mär. 2018 | Racers.png (Datei) | 27 KB | Bikegeissel | ==Quelle== Das Bild stammt von der Webseite Sheldon Browns aus dem Artikel [http://www.sheldonbrown.com/sa50/page6.html Sturmey-Archer-50 Years of Leadership - page 6]. {{Weitere Artikel Kategorie|categoryname=Sturmey-Archer}} {{Weitere Artikel Kateg… | 1 | |
| 06:16, 28. Mär. 2018 | Patriarchs.png (Datei) | 143 KB | Bikegeissel | ==Quelle== Das Bild stammt von der Webseite Sheldon Browns aus dem Artikel [http://www.sheldonbrown.com/sa50/page5.html Sturmey-Archer-50 Years of Leadership - page 5]. {{Weitere Artikel Kategorie|categoryname=Sturmey-Archer}} {{Weitere Artikel Kateg… | 1 | |
| 12:40, 27. Mär. 2018 | Kettentypen.png (Datei) | 32 KB | Bikegeissel | ==Quelle== Das Bild stammt von der Webseite Sheldon Browns aus dem Artikel [http://sheldonbrown.com/chains.html Chain Maintenance]. {{Weitere Artikel Kategorie|categoryname=Antriebstechnik}} {{Weitere Artikel Kategorie|categoryname=Workshop}} {{Weite… | 1 | |
| 10:12, 21. Mär. 2018 | Backcover.jpeg (Datei) | 62 KB | Bikegeissel | ==Quelle== Das Bild stammt von der Webseite Sheldon Browns aus dem Artikel [http://www.sheldonbrown.com/sa50/backcover.html Sturmey-Archer-50 Years of Leadership - Backcover]. {{Weitere Artikel Kategorie|categoryname=Sturmey-Archer}} {{Weitere Artike… | 1 | |
| 10:04, 21. Mär. 2018 | Factoryphotos.jpeg (Datei) | 123 KB | Bikegeissel | ==Quelle== Das Bild stammt von der Webseite Sheldon Browns aus dem Artikel [http://www.sheldonbrown.com/sa50/page3.html Sturmey-Archer-50 Years of Leadership - page 10]. {{Weitere Artikel Kategorie|categoryname=Sturmey-Archer}} {{Weitere Artikel Kate… | 1 | |
| 09:31, 21. Mär. 2018 | Parts.png (Datei) | 87 KB | Bikegeissel | ==Quelle== Das Bild stammt von der Webseite Sheldon Browns aus dem Artikel [http://www.sheldonbrown.com/sa50/page3.html Sturmey-Archer-50 Years of Leadership - page 4]. {{Weitere Artikel Kategorie|categoryname=Sturmey-Archer}} {{Weitere Artikel Kateg… | 1 | |
| 14:09, 19. Mär. 2018 | Header fruehling 10jahre.jpg (Datei) | 32 KB | M. | 1 | ||
| 10:10, 19. Mär. 2018 | A-series.png (Datei) | 88 KB | Bikegeissel | ==Quelle== Das Bild stammt von der Webseite Sheldon Browns aus dem Artikel [http://www.sheldonbrown.com/sa50/page3.html Sturmey-Archer-50 Years of Leadership - page 3]. {{Weitere Artikel Kategorie|categoryname=Sturmey-Archer}} {{Weitere Artikel Kateg… | 1 | |
| 10:09, 19. Mär. 2018 | F-series.png (Datei) | 99 KB | Bikegeissel | ==Quelle== Das Bild stammt von der Webseite Sheldon Browns aus dem Artikel [http://www.sheldonbrown.com/sa50/page2.html Sturmey-Archer-50 Years of Leadership - page 2]. {{Weitere Artikel Kategorie|categoryname=Sturmey-Archer}} {{Weitere Artikel Kateg… | 1 | |
| 10:18, 16. Mär. 2018 | Cover.png (Datei) | 62 KB | Bikegeissel | ==Quelle== Das Bild stammt von der Webseite Sheldon Browns aus dem Artikel [http://www.sheldonbrown.com/sa50/index.html Sturmey-Archer-50 Years of Leadership]. {{Weitere Artikel Kategorie|categoryname=Sturmey-Archer}} {{Weitere Artikel Kategorie|cate… | 1 | |
| 10:18, 14. Mär. 2018 | Dynos.png (Datei) | 41 KB | Bikegeissel | ==Quelle== Das Bild stammt von der Webseite Sheldon Browns aus dem Artikel [http://www.sheldonbrown.com/dynohubs.html Dynohubs]. {{Weitere Artikel Kategorie|categoryname=Sturmey-Archer}} {{Weitere Artikel Kategorie|categoryname=Licht}} {{Weitere Arti… | 1 | |
| 10:17, 14. Mär. 2018 | Dynohead.png (Datei) | 32 KB | Bikegeissel | ==Quelle== Das Bild stammt von der Webseite Sheldon Browns aus dem Artikel [http://www.sheldonbrown.com/dynohubs.html Dynohubs]. {{Weitere Artikel Kategorie|categoryname=Sturmey-Archer}} {{Weitere Artikel Kategorie|categoryname=Licht}} {{Weitere Arti… | 1 | |
| 15:10, 19. Feb. 2018 | Kettenlaenge.png (Datei) | 6 KB | Bikegeissel | Stark vereinfachte Formel mit gutem Ergebnis | 3 | |
| 06:16, 26. Okt. 2017 | SundingSD-546C.jpg (Datei) | 17 KB | Bikegeissel | ==Quelle== Das Bild stammt von der Webseite Sheldon Browns aus dem Artikel [http://www.sheldonbrown.com/cyclecomputer-database.html Cyclecomputer and GPS Owner's Manual Database]. {{Weitere Artikel Kategorie|categoryname=Fahrradcomputer}} {{Weitere A… | 1 | |
| 07:08, 25. Okt. 2017 | Sicherungsscheiben-Tabelle.png (Datei) | 46 KB | Bikegeissel | ==Quelle== Dieses Bild stammt aus dem [http://si.shimano.com/pdfs/dm/DM-SG0003-06-GER.pdf Händlerhandbuch] zu den Nexus Inter-5, Inter-7 und Inter-8 Modellen von Shimano. {{Weitere Artikel Kategorie|categoryname=Antriebstechnik}} {{Weitere Artikel Ka… | 1 | |
| 06:58, 25. Okt. 2017 | Inter-7-Gangeinstellung-4.png (Datei) | 58 KB | Bikegeissel | ==Quelle== Dieses Bild stammt aus dem [http://si.shimano.com/pdfs/dm/DM-SG0003-06-GER.pdf Händlerhandbuch] zu den Nexus Inter-5, Inter-7 und Inter-8 Modellen von Shimano. {{Weitere Artikel Kategorie|categoryname=Antriebstechnik}} {{Weitere Artikel Ka… | 1 | |
| 06:58, 25. Okt. 2017 | Inter-7-Gangeinstellung-3.png (Datei) | 84 KB | Bikegeissel | ==Quelle== Dieses Bild stammt aus dem [http://si.shimano.com/pdfs/dm/DM-SG0003-06-GER.pdf Händlerhandbuch] zu den Nexus Inter-5, Inter-7 und Inter-8 Modellen von Shimano. {{Weitere Artikel Kategorie|categoryname=Antriebstechnik}} {{Weitere Artikel Ka… | 1 | |
| 06:58, 25. Okt. 2017 | Inter-7-Gangeinstellung-2.png (Datei) | 67 KB | Bikegeissel | ==Quelle== Dieses Bild stammt aus dem [http://si.shimano.com/pdfs/dm/DM-SG0003-06-GER.pdf Händlerhandbuch] zu den Nexus Inter-5, Inter-7 und Inter-8 Modellen von Shimano. {{Weitere Artikel Kategorie|categoryname=Antriebstechnik}} {{Weitere Artikel Ka… | 1 | |
| 06:57, 25. Okt. 2017 | Inter-7-Gangeinstellung-1.png (Datei) | 62 KB | Bikegeissel | ==Quelle== Dieses Bild stammt aus dem [http://si.shimano.com/pdfs/dm/DM-SG0003-06-GER.pdf Händlerhandbuch] zu den Nexus Inter-5, Inter-7 und Inter-8 Modellen von Shimano. {{Weitere Artikel Kategorie|categoryname=Antriebstechnik}} {{Weitere Artikel Ka… | 1 | |
| 09:22, 19. Okt. 2017 | Zugmontage Nexus Teil 4.png (Datei) | 48 KB | Bikegeissel | ==Quelle== Dieses Bild stammt aus dem [http://si.shimano.com/pdfs/dm/DM-SG0003-05-GER.pdf Händlerhandbuch] zu den Nexus Inter-5, Inter-7 und Inter-8 Modellen von Shimano. {{Weitere Artikel Kategorie|categoryname=Antriebstechnik}} {{Weitere Artikel Ka… | 1 | |
| 09:21, 19. Okt. 2017 | Zugmontage Nexus Teil 3.png (Datei) | 38 KB | Bikegeissel | ==Quelle== Dieses Bild stammt aus dem [http://si.shimano.com/pdfs/dm/DM-SG0003-05-GER.pdf Händlerhandbuch] zu den Nexus Inter-5, Inter-7 und Inter-8 Modellen von Shimano. {{Weitere Artikel Kategorie|categoryname=Antriebstechnik}} {{Weitere Artikel Ka… | 1 | |
| 09:19, 19. Okt. 2017 | Zugmontage Nexus 2.png (Datei) | 62 KB | Bikegeissel | ==Quelle== Dieses Bild stammt aus dem [http://si.shimano.com/pdfs/dm/DM-SG0003-05-GER.pdf Händlerhandbuch] zu den Nexus Inter-5, Inter-7 und Inter-8 Modellen von Shimano. {{Weitere Artikel Kategorie|categoryname=Antriebstechnik}} {{Weitere Artikel Ka… | 1 | |
| 09:15, 19. Okt. 2017 | Schaltzugmontage Shimano Nexus.png (Datei) | 46 KB | Bikegeissel | ==Quelle== Dieses Bild stammt aus dem [http://si.shimano.com/pdfs/dm/DM-SG0003-05-GER.pdf Händlerhandbuch] zu den Nexus Inter-5, Inter-7 und Inter-8 Modellen von Shimano. {{Weitere Artikel Kategorie|categoryname=Antriebstechnik}} {{Weitere Artikel Ka… | 1 | |
| 12:49, 11. Okt. 2017 | Rasb-int-nexus1.jpg (Datei) | 114 KB | Bikegeissel | Dieses Bild basiert auf auf einem Bild aus dem Artikel [https://www.sheldonbrown.com/nexus-mech.html Shimano Nexus/Alfine 3, 4, 7, 8, 11 Speed Hub Technical Information] von der Website [http://sheldonbrown.com Sheldon Browns]. Das Bild stammt urspr… | 1 | |
| 12:49, 11. Okt. 2017 | Rasb-superbe.jpg (Datei) | 86 KB | Bikegeissel | Dieses Bild basiert auf auf einem Bild aus dem Artikel [https://www.sheldonbrown.com/nexus-mech.html Shimano Nexus/Alfine 3, 4, 7, 8, 11 Speed Hub Technical Information] von der Website [http://sheldonbrown.com Sheldon Browns]. Das Bild stammt urspr… | 1 | |
| 06:28, 21. Sep. 2017 | Motor-align-2.png (Datei) | 10 KB | Bikegeissel | ==Quelle== Dieses Bild basiert auf auf einem Bild aus dem Artikel [https://www.sheldonbrown.com/nexus-mech.html Shimano Nexus/Alfine 3, 4, 7, 8, 11 Speed Hub Technical Information] von der Website [http://sheldonbrown.com Sheldon Browns]. {{Weitere… | 1 | |
| 06:23, 21. Sep. 2017 | Motor-align-1.png (Datei) | 9 KB | Bikegeissel | ==Quelle== Dieses Bild basiert auf auf einem Bild aus dem Artikel [https://www.sheldonbrown.com/nexus-mech.html Shimano Nexus/Alfine 3, 4, 7, 8, 11 Speed Hub Technical Information] von der Website [http://sheldonbrown.com Sheldon Browns]. {{Weitere… | 1 | |
| 06:20, 21. Sep. 2017 | Motor-align.png (Datei) | 9 KB | Bikegeissel | ==Quelle== Dieses Bild basiert auf auf einem Bild aus dem Artikel [https://www.sheldonbrown.com/nexus-mech.html Shimano Nexus/Alfine 3, 4, 7, 8, 11 Speed Hub Technical Information] von der Website [http://sheldonbrown.com Sheldon Browns]. {{Weitere… | 1 | |
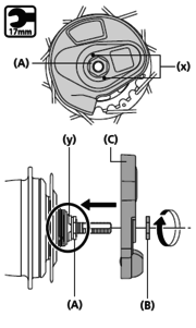
| 09:22, 8. Aug. 2017 | Cassette-joint with fixing ring.JPG (Datei) | 17 KB | Bikegeissel | ==Quelle== Dieses Bild basiert auf auf einem Bild aus dem Artikel [https://www.sheldonbrown.com/nexus-mech.html Shimano Nexus/Alfine 3, 4, 7, 8, 11 Speed Hub Technical Information] von der Website [http://sheldonbrown.com Sheldon Browns]. {{Weitere… | 1 | |
| 09:21, 8. Aug. 2017 | Cassette-joint installed.JPG (Datei) | 18 KB | Bikegeissel | ==Quelle== Dieses Bild basiert auf auf einem Bild aus dem Artikel [https://www.sheldonbrown.com/nexus-mech.html Shimano Nexus/Alfine 3, 4, 7, 8, 11 Speed Hub Technical Information] von der Website [http://sheldonbrown.com Sheldon Browns]. {{Weitere… | 1 | |
| 09:20, 8. Aug. 2017 | Cassette joint with driver cap.JPG (Datei) | 17 KB | Bikegeissel | ==Quelle== Dieses Bild basiert auf auf einem Bild aus dem Artikel [https://www.sheldonbrown.com/nexus-mech.html Shimano Nexus/Alfine 3, 4, 7, 8, 11 Speed Hub Technical Information] von der Website [http://sheldonbrown.com Sheldon Browns]. {{Weitere… | 1 | |
| 08:28, 8. Aug. 2017 | Cassette-joint.JPG (Datei) | 18 KB | Bikegeissel | 2 | ||
| 14:18, 1. Aug. 2017 | Alfine-cassette-joint.jpg (Datei) | 12 KB | Bikegeissel | ==Quelle== Dieses Bild basiert auf auf einem Bild aus dem Artikel [https://www.sheldonbrown.com/nexus-mech.html Shimano Nexus/Alfine 3, 4, 7, 8, 11 Speed Hub Technical Information] von der Website [http://sheldonbrown.com Sheldon Browns]. {{Weitere… | 1 | |
| 14:17, 1. Aug. 2017 | Cassette-joint-parts.jpg (Datei) | 14 KB | Bikegeissel | ==Quelle== Dieses Bild basiert auf auf einem Bild aus dem Artikel [https://www.sheldonbrown.com/nexus-mech.html Shimano Nexus/Alfine 3, 4, 7, 8, 11 Speed Hub Technical Information] von der Website [http://sheldonbrown.com Sheldon Browns]. {{Weitere… | 1 | |
| 10:39, 28. Jul. 2017 | Bearing types400-270.jpg (Datei) | 38 KB | Bikegeissel | ==Quelle== Dieses Bild basiert auf dem Originalbild aus dem [http://sheldonbrown.com/glossary.html Glossar] von der Website [http://sheldonbrown.com Sheldon Browns]. Übersetzung ins Deutsche von bikegeissel | 1 | |
| 12:15, 24. Jul. 2017 | Nexus.jpg (Datei) | 26 KB | Bikegeissel | ==Quelle== Dieses Bild basiert auf auf einem Bild aus dem Artikel [https://www.sheldonbrown.com/nexus-mech.html Shimano Nexus/Alfine 3, 4, 7, 8, 11 Speed Hub Technical Information] von der Website [http://sheldonbrown.com Sheldon Browns]. Das Bild st… | 1 | |
| 07:24, 14. Jul. 2017 | Twenty-nylon-headset.JPG (Datei) | 13 KB | Bikegeissel | ==Quelle== Dieses Bild stammt aus dem Artikel [https://www.sheldonbrown.com/raleigh-twenty.html Sheldon Brown's Raleigh Twenty Page] von der Website [http://sheldonbrown.com Sheldon Browns]. Fotografie stammt von Sheldon Brown. | 1 | |
| 06:57, 13. Jul. 2017 | Xtr-vbrake.jpg (Datei) | 20 KB | Bikegeissel | 2 | ||
| 06:56, 13. Jul. 2017 | Vbrake-springadjuster.jpg (Datei) | 40 KB | Bikegeissel | 3 | ||
| 06:54, 13. Jul. 2017 | Vbrake-qr3.jpg (Datei) | 20 KB | Bikegeissel | 2 | ||
| 06:54, 13. Jul. 2017 | Vbrake-qr2.jpg (Datei) | 19 KB | Bikegeissel | 2 | ||
| 06:53, 13. Jul. 2017 | Vbrake-qr1.jpg (Datei) | 18 KB | Bikegeissel | 2 | ||
| 06:50, 13. Jul. 2017 | Vbrake-overallsm.jpg (Datei) | 44 KB | Bikegeissel | 3 | ||
| 11:27, 12. Jul. 2017 | Bbun72-withou-cups.jpg (Datei) | 12 KB | Bikegeissel | ==Quelle== Dieses Bild stammt aus dem Artikel [http://sheldonbrown.com/tooltips/cartridge.html Choosing and installing a cartridge bottom bracket] von der Website [http://sheldonbrown.com Sheldon Browns]. Fotografie stammt von John Allen. Bearbei… | 1 | |
| 09:52, 11. Jul. 2017 | Laufradbau 36 36.png (Datei) | 25 KB | Bikegeissel | {{Weitere Artikel Kategorie|categoryname=Laufradtechnik}} {{Weitere Artikel Kategorie|categoryname=Sheldon Brown}} | 1 | |
| 09:48, 11. Jul. 2017 | Laufradbau 36 09.png (Datei) | 11 KB | Bikegeissel | {{Weitere Artikel Kategorie|categoryname=Laufradtechnik}} {{Weitere Artikel Kategorie|categoryname=Sheldon Brown}} | 1 | |
| 09:35, 11. Jul. 2017 | Raleigh-headset.jpg (Datei) | 14 KB | Bikegeissel | ==Quelle== Dieses Bild stammt aus dem Artikel [https://www.sheldonbrown.com/raleigh26.html Threading/interchangeability Issues for Older Raleigh Bicycles] von der Website [http://sheldonbrown.com Sheldon Browns]. Fotografie stammt von Sheldon Brown. | 1 | |
| 09:33, 11. Jul. 2017 | Check-BB.JPG (Datei) | 32 KB | Bikegeissel | ==Quelle== Dieses Bild stammt aus dem Artikel [https://www.sheldonbrown.com/raleigh26.html Threading/interchangeability Issues for Older Raleigh Bicycles] von der Website [http://sheldonbrown.com Sheldon Browns]. Fotografie stammt von Sheldon Brown. | 1 | |
| 09:33, 11. Jul. 2017 | Bb-axle correct track.JPG (Datei) | 17 KB | Bikegeissel | ==Quelle== Dieses Bild stammt aus dem Artikel [https://www.sheldonbrown.com/raleigh26.html Threading/interchangeability Issues for Older Raleigh Bicycles] von der Website [http://sheldonbrown.com Sheldon Browns]. Fotografie stammt von Sheldon Brown. | 1 | |
| 09:33, 11. Jul. 2017 | Bb-axle low track small.JPG (Datei) | 17 KB | Bikegeissel | ==Quelle== Dieses Bild stammt aus dem Artikel [https://www.sheldonbrown.com/raleigh26.html Threading/interchangeability Issues for Older Raleigh Bicycles] von der Website [http://sheldonbrown.com Sheldon Browns]. Fotografie stammt von Sheldon Brown. | 1 |